月額
10,887円
(税込/管理料含む)









下記の一覧からご希望の区画を選択し、空き状況の確認(または空き待ち予約)にお進みください。
契約可
種別
平置き
屋根
なし
舗装
あり
24時間
利用可能
貸与物
なし
10,887
円
(税込)
管理費用等含む
40,000
円
(税込)
管理費用等含む
大型車・SUV
長さ 4.8m〜5.0m/車幅 1.8m〜1.9m
クラウン、レガシィ、アルファード、ヴェルファイア、エスティマ、スカイライン、オデッセイ、ハリアー、エクストレイル、CX-5、フォレスター、パジェロ、アウトランダーなど
高さ
不明
長さ
不明
車幅
不明
車下
不明
タイヤ幅
不明
重さ
不明
保管場所使用承諾証明書発行手数料
※1
16,500円(税込)
更新費用
※2
1,899円(税込)
※1 証明書発行をご希望の方のみ必要な費用となります。
※2 契約更新時に都度発生します。
契約期間
2年更新
インボイス制度への対応
賃貸人が適格請求書発行事業者未登録の駐車場
無し
契約可
種別
平置き
屋根
なし
舗装
あり
24時間
利用可能
貸与物
なし
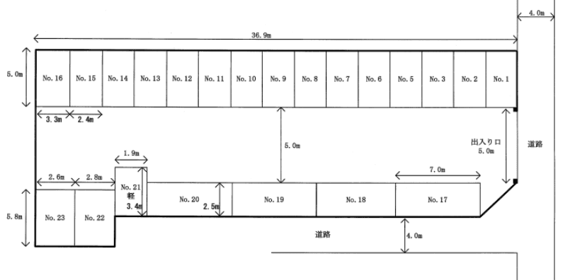
藤井モータープール(Park Direct管理コード:PK000021873)は大阪府高槻市如是町559番1にある平置きの月極駐車場です。 屋根なしで舗装された駐車スペースを提供しており、料金は10,887円です。 この駐車スペースは24時間利用可能で、対応車両例として大型車・SUVサイズまで対応しています。 この駐車場をご利用いただく際は貸与物等もありませんので、契約後すぐにご利用いただけます。


あ行・か行
さ行・た行
な行・は行
ま行・や行・ら行・わ行・英数字
ビジネスやレジャーなど、お出かけ先での駐車場にお困りではありませんか?
1日〜数日の短期間利用できる駐車場をお探しなら、Park Directの関連サービス「ワンデイパーク」をご利用ください。
全国の1日貸し駐車場を2週間先まで予約できます(エリア拡大中)。